Diagram of an airlift pump
An airlift pump, powered by compressed air, raises fluid by entraining gas to reduce its density. 1. Air supply. 2. Liquid supply. 3. Air inlet port. 4. Air supply line. 5. Air port. 6. Air outlet. 7. Fluid intake. 8. Riser tube. 9. Air liquid mixture. 10. Pump outlet. L:Liquid, usually wastewater. LL:Liquid level. V:Vessel G:Gravel or solids.

An airlift pump is a gas lift pump which is powered by compressed air.

Principle

The only energy required is air. This air is usually compressed by a compressor or a blower. The air is injected in the lower part of a pipe that transports a liquid. It usually bubbles into another larger diameter pipe. By buoyancy the air, which has a lower density than the liquid, rises quickly. By fluid pressure, the liquid is taken in the ascendant air flow and moves in the same direction as the air. The calculation of the volume flow of the liquid is possible thanks to the physics of two-phase flow.

Airlift pump technology is superb due to its simple structure. However, it has the following weaknesses:

  • Weak suction
  • Unstable flow rate
  • Frequent clogging
  • Difficult flow control
  • Low lift

Utilization

Airlift pumps are often used in deep dirty wells where sand would quickly abrade mechanical parts. (The compressor is on the surface and no mechanical parts are needed in the well). However airlift wells must be much deeper than the water table to allow for submergence. Air is generally pumped at least as deep under the water as the water is to be lifted. (If the water table is 50 ft below, the air should be pumped 100 feet deep).

It is also sometimes used in part of the process on a wastewater treatment plant if a small head is required (typically around 1 foot head).

They can also be used in ponds and aquaculture to aerate and mix the water.

Inventor

The first airlift pump is considered to be invented by the German engineer Carl Emanuel Löscher (de), who lived in the second part of the eighteenth century. He discovered the airlift pump in 1797.

Advantages and disadvantages

The following paragraph exposes the advantages and disadvantages of the airlift pump compared to other pumping techniques.

advantages

  • The pump is very reliable. The very simple principle is a clear advantage. Only air with a higher pressure than the liquid is required.
  • The liquid is not in contact with any mechanical elements. Therefore, neither the pump can be abraded (which is important for sandwater wells), neither the contents in the pipe can be abraded (which is important for archeological research in the sea)

disadvantages

  • cost: while in some specific case the operational cost can be interesting, most of the time, the quantity of air to compress is high compared to the liquid flow required.[1] · [2] · .
  • Conventional airlift pumps have a flow rate that is very limited. The pump is either on or off. It is very difficult to get a wide range of proportional flow control by varying the volume of compressed air. This is a dramatic disadvantage in some parts of a small wastewater treatment plant, such as the aerator.[3]
  • The suction is limited.
  • This pumping system is suitable only if the head is relatively low. If you want to obtain a high head, you have to choose a conventional pumping system.
  • Because of the principle, a lot of air remains in the liquid. In certain case, this can be problematic, as, for example, in a waste water treatment plant, before an anaerobic basin.

Design Improvements

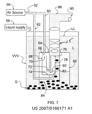
Diagram of a geyser pump
A geyser pump, an improved airlift pump, powered by compressed air, raises fluid by forcing rising bubbles to displace fluid. 50. Air supply. 52. Air inlet port. 58. Liquid supply. 60,62. air supply lines. 64. upper end of air tank 86. 66,82. Air ports. 70. Upper air inlet of u-shaped elbow 74. 76 Air outlet. 84. Fluid intake. 65. Riser tube. 88. Displaced liquid. 90. Pump outlet. L:Liquid, usually wastewater. LL:Liquid level. VVV:Vessel G:Gravel or solids

A recent (2007) variant called the "geyser pump" can pump with greater suction and less air. It also pumps proportionally to the air flow, permitting use in processes that require varying controlled flows. It arranges to store up the air, and release it in large bubbles that seal to the lift pipe, raising slugs of fluid.[4]

See also

Notes and references

  1. air quantity calculation PDF (1.86 MB)
  2. airlift basic calculation Template:Xls
  3. New Pump Technology May Improve Small Flows, WVU NCSFC Clearinghouse Accessed 2011-3-21
  4. Patent Application number: 11/654,448, January 17, 2007, Inventor: Masao Kondo

External links

fr:Airlift ro:Aerlift ru:Эрлифт uk:Ерліфт